
里本道夫等等發明了圖 16 所示的擴張裝置,該裝置由外板、密封墊、加熱室和冷卻室構成。擴張方法為內壓擴張。擴前管內部通入壓縮空氣,加熱介質也有壓力并且與壓縮空氣相同,由于擴前管內外壓力相同,因此在加熱階段不會擴張。當擴前管到達小孔位置時,其外部的壓力通過小孔與大氣聯通,完全泄掉,擴前管在內部壓力作用下得到擴張,擴張以后進入冷卻室冷卻,得到熱縮管。加熱介質在加熱室加熱,保持溫度恒定。該裝置的特點是:擴張只依靠內壓,不需要真空,擴張力大,能夠提高熱縮管的輻射劑量,縮短熱縮管使用時的熱收縮時間,提高使用效率。另外輻射劑量大,熱縮管的收縮力也大,能夠提高其絕緣密封的可靠性。

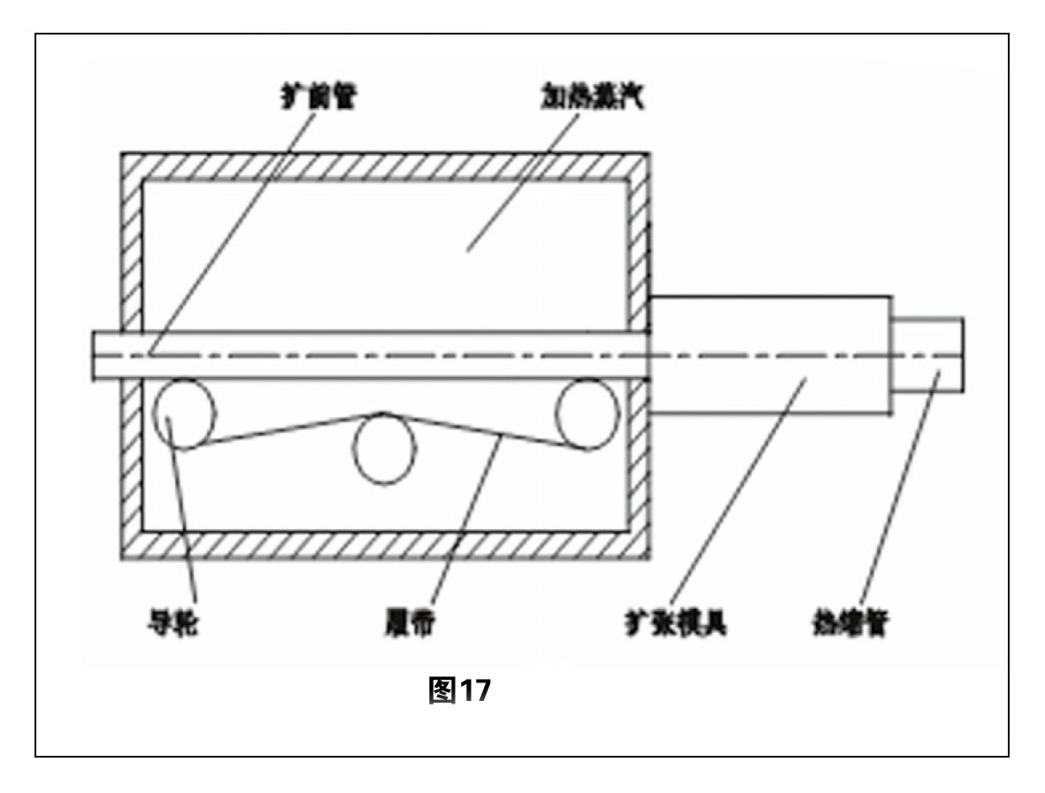
村上哲夫等發明了圖 17 所示的擴張裝置,該裝置的特點在于:使用水蒸汽加熱,克服了使用甘油加熱帶來的擴前管上浮問題,加熱均勻,加熱速度快。在加熱器內裝有履帶,擴前管處于履帶上面,由履帶帶動自左向右運動,加熱器內由于有履帶帶動,擴前管不會產生不均勻的拉伸,能夠保證熱縮管的軸向收縮率。擴張方法為內壓與真空聯合擴張。當蒸汽溫度98±1℃,擴張速度 13m / min ,擴張內壓0.1MPa ,擴張比為 2 ,制得的熱縮管的內徑2.5MM ,壁厚0.19MM ,軸向收縮率為 8 %。其他條件完全相同,只是加熱器內沒有履帶,則制得的熱縮管軸向收縮率為 15 % ,由此可見,履帶對熱縮管的軸向收縮率影響非常大。

圖 18 是一種內壓擴張裝置,主要由模具和外套構成,模具上有小孔,當擴前管到達該處時,其外部的壓力從小孔處與大氣連通,變成大氣壓,擴前管在內部壓力作用下擴張。外套內有冷卻水,對熱縮管進行冷卻。其優點與圖 15 相同,結構簡單,制造成本低。
4 結語
內壓擴張的擴張能力強,制造的熱縮管收縮力大,收縮速度快,絕緣密封安全可靠。內壓與真空聯合擴張,采用雙真空室、真空室內沒有模具以及在模具兩端增加密封手段,擴張穩定性好,制造的熱縮管軸向收縮率小。具有錐面的擴張模具,能夠控制熱縮管膨脹速度,防止其自由膨脹,制造的熱縮管軸向收縮率小,壁厚均勻性好。模具內的潤滑液能夠減小熱縮管與模具的摩擦力,降低熱縮管的軸向收縮率。
之「五」共「五」篇
本文由東莞云林搜集并整理,歡迎關注,帶你一起長知識!







業務QQ 